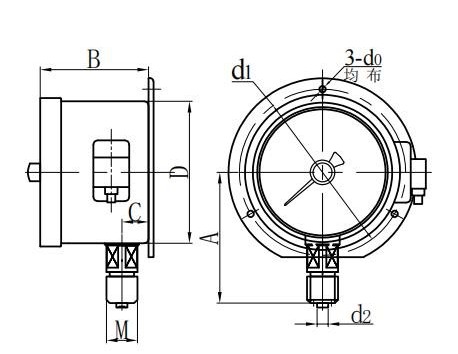
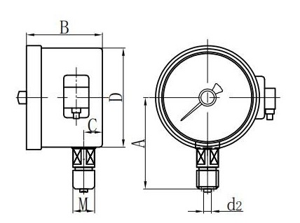
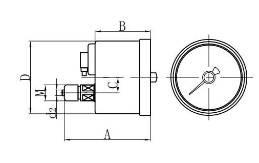
◆ Model: YXD100 YXD150
◆ Penggunaan: instrumen semacam ini merupakan pengganti pengukur tekanan kontak listrik, ia mempertahankan keunggulan dari indikasi pengukur tekanan kontak listrik adalah intuitif, mudah disesuaikan, dan instrumen telah membuat peningkatan mendasar, penggunaan sensor fotolektrik, pembuatan sinyal yang tidak terkena, pengontrol relektasi dalam fotolektrik dalam amplifikasi sirkuit yang terintegrasi untuk menggerakkan sirkuit tinggi. Karakteristik switching yang sangat baik. Ini banyak digunakan dalam minyak bumi, industri kimia, metalurgi, teknologi energi nuklir dan proses switching yang sering.
Instrumen ini cocok untuk pengukuran yang stabil dan andal dan kontrol tekanan cairan, gas atau uap tanpa bahaya ledakan, non-kristal, non-solidifikasi, dan efek non-korosif pada paduan tembaga dan tembaga.
◆ Jika perlu membuat pengukur tekanan tipe shockproof, itu dapat diisi dengan gliserin atau minyak silikon.





















